「止まれ」との標識がない交差点での一時停止義務

一時停止の標示と標識

ご存知の通り、一時停止の規制がある交差点で一時停止を怠ったら、道路交通法違反になります。次のような交差点です。

赤い逆三角形の「止まれ」は標識、

道路に白いペイントで描かれた「止まれ」は標示です。

ここまでは、みなさん、よくご存じかと思います。

 

標示はあるが標識がない場合

 

では、ここで、問題です。

ときどき、次の図のように、路面に「止まれ」白くペイントされた標示はあっても、赤い三角形の「止まれ」という標識が設置されていない交差点があります。このような交差点で一時停止を怠ったら、道路交通法違反となるのでしょうか?

 

これは、意外に難問です。

何人もの弁護士がこれを知りませんでした。

民亊訴訟を担当する裁判官の中にも、ご存知なさそうな方がいました。

恥ずかしながら、私も、これを知ったのは、弁護士になってから何年も経ってからです。

 

「止まれ」と道路に書いてある以上は、一時停止を怠ると道交法に違反するようにも思えます。

結論から言いましょう。

答えは、NOです。一時停止しなくても、道交法違反にはなりません

 

道路交通法などの定め

道路交通法43条は一時停止の義務について、次のように定めています。

 

車両等は、交通整理が行なわれていない交差点又はその手前の直近において、道路標識等により一時停止すべきことが指定されているときは、・・・(中略)・・・一時停止しなければならない。

 

道路標識「等」とされているので、道路標識がなくても道路標示があれば一時停止しなければいけないのではないか?と考えてしまいそうになります。

 

しかし、ここで注意しなければいけないのは、道路交通法4条5項に次のような定めがあることです。

 

道省令路標識等の種類、様式、設置場所その他道路標識等について必要な事項は、内閣府令・国土交通で定める。

この「内閣府令・国土交通省令」とは、「標識令」のことです。

 

「標識令」には、一時停止の標識が規制標識として定められています(標識令別表2)。

 

この標識がある場合には、一時停止規制ありです。

一時停止を怠ると道交法違反になります。

 

では、「標識令」に、次のような標示についての定めはあるでしょうか?

実は、「標識令」には、一時停止を義務付ける規制標示の定めはありません。

 

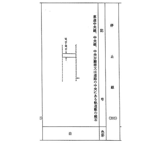
確かに、標識令には、次の図のように、停止線の指示標示が定められています(標識令別表6)。

しかし、この標示は、停止位置を「指示」する標示にすぎません。一時停止を義務付ける「規制」標示ではないのです。

 

結論

赤い逆三角形の「止まれ」の標識がない場合には、道路に「止まれ」の文字が白くペイントされていても、一時停止する義務はありません。

一時停止しなくても、道路交通法違反にはなりません。

 

もちろん、わざわざ、道路に「止まれ」との標示が設けられ注意喚起されている以上は、十分な注意を払って安全運転をした方がいいことはいうまでもありません。

 

なお、一時停止の標識がないことは、過失割合にも影響します。詳しくは下の記事をご覧ください。

 

示談交渉や訴訟になった場合の流れについては以下を参照ください。

 

 

法律相談のご予約はこちら

  • 当事務所でのご相談、ご依頼には、弁護士特約を利用できます。
  • ご家族が加入している弁護士特約も利用できる場合があります。

法律相談のご予約はお電話にて受け付けております。

受付時間:10:00~18:00

定休日:土曜・日曜・祝日

事務所にお越しいただいてのご相談となります。

048-864-5577

Menu

パソコン|モバイル
ページトップに戻る